一、概述
高空作业车以东风小霸王、江铃五十铃、福田奥铃、东风140、东风145 系列等底盘(也可采用其他车辆改装),全回转三折臂式液压多功能工程作业车,它能将工作人员平稳,安全的送到14-20 米的高空作业,进行维修、安装、清洗、摄影、造船、化工、电力、剪枝、更换路灯及其他工程抢修作业。该车的主臂上还设有起重结构,故该车的使用**域较宽。该车驾驶室外型美观,内部舒适,可载(座)3-6 人,整车外形尺寸小于国内同类产品,整车移动方便,能适合狭窄的地段,小街小巷作业。该车的上臂、下臂、回转和起重液压系统均为独特无级调速系统,具有节能和动作灵活,平稳安全可靠的特点。该车的支腿分单独、可调,能实现整车在平路上调平。该车液压和电器**系统均设有各种限位装置及发动机紧急熄火装置。能在操作人操作失误,出现故障自动切断电源或紧急停止发动机,及时停止危险动作,确保安全可靠。该车电动操作系统均采用防水开关,避免了开关易进水,锈蚀漏电的问题,工作斗采用管状工作斗,外形美观,在工作斗和转台实行双位置操作,使用方便,维修简便,安全可靠。
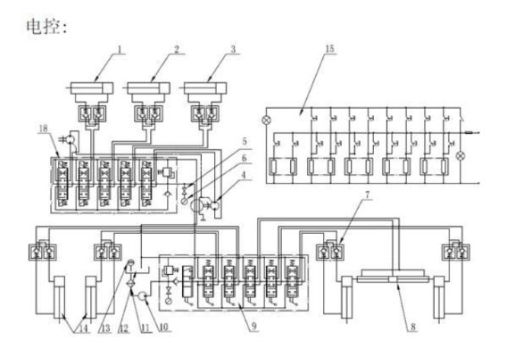
二、结构简图(如图1)

三、操作步骤
步骤1.根据如下指示牌先伸出后横,然后伸出后左右脚及前左右脚,
(如图2)

步骤2.按住上述操作指示牌的“升臂操作”换向阀向里推,然后准备操作各臂;
步骤3.操作各臂时分为站臂操作和吊栏操作

步骤4.操作各臂时**升小臂举升一定角度, (如图3):

步骤5.然后将二臂举升一定角度,(如图4:)
步骤6.再将大臂举升一定角度,(如图5:)

步骤7.将小臂油缸伸出到**高度,如图6:
步骤8.接着再将二臂举升一定角度,如图7:

步骤9.再将大臂油缸举升到**高度,如图8:
步骤10.**将二臂举升到**高度(此时已达到高空作业的**高度),如图9:

步骤11.下降时先下降二臂**图8 位置;
步骤12.接着下降大臂**图7 位置;
步骤13.再下降二臂**图6 位置;
步骤14.再下降大臂**图4 位置;
步骤15.下降二臂**图3 位置;
步骤16.**下降小臂**初始位置,如图2.
四、操作规程及方法:
1.手动操作:⑴.选择作业位置后注意地面不实,暗沟等可能造成的车辆失重,严格禁止未支撑车辆的情况下进行升高作业;下车组合操纵阀,主要用于汽车起重的支腿操作根据主油路的确定,可以用起重机的支腿回路中,起重机需工作时,**操作下车组合操纵阀,使支腿伸出。当阀杆向里换向时,流体进入标牌所示相对的阀口分别调节任一个支腿的伸出;当阀杆向外换向时,分别调节任意一个支腿的缩回;当支腿升到一定高度并调平车辆的情况下(每个支腿可单独调平),操作阀设置换向杆向里推(弹簧钢球定位)压力油经过换向阀径口进入上车组合操作阀。
⑵.上车组合操作阀设有双向操作(转臂座椅操作台一个和吊栏操作台一个)按操作牌所示进行升高操作。
⑶.需要在吊栏操作,必须打开转臂操作阀左端换向阀杆(向里推,弹簧定位)使流体通过阀体进入吊栏操作阀来完成吊栏标牌所示的操作程序。
⑷.手动操作换向阀可根据手感及力度,阀杆的行程**升降臂的速度,平稳,根据操作人员的操作技术可更有效的发挥车辆的升降速度及平稳度。
⑸.本系列车辆可分手动操作和电动操作两种(上车操作阀)根据不同的情况选择操作方法。
⑹.工作完毕车辆各升降臂必须收回**行驶状态(各臂进入支架)方可快速行驶。
⑺.环境温度-20℃—40℃,风力不超过六级,工作环境不待有暗沟,空洞,地面不结实,工作车架处于水平状态。
⑻.工作高度及半径因不同车型而定,回转角度360°,支腿设置横向(增加支撑跨度)和纵向H型支撑,工作上限载200Kg,限两人作业。
⑼.取力器位于发动机变速厢侧,有离合操作手柄或电磁阀开关**取力器的工作和停止,有发动机输出动力通过取力器转动使液压油泵工作。
⑽.回转机构由液压马达,回转减速器及回转支撑组成由液压马达驱动减速器输出小齿轮带动回转支撑回转。
⑾.**回转接头安装在转台**处,实现回转中流体及电能在回转的过程中正常传递。
⑿.液压系流由液压泵供油,**工作压力16mPa,其系统工作压力由溢流阀调定。
2.电控操作:下车操作同手动操作介绍一样。当上车起始工作时(扳动下车阀中换向杆向里定位)支腿操作阀中上下油路切换阀向上车阀供油,然后操作上部电磁阀开关此时低压油进入阀腔使相应的工作机构处于工作状态,然后缓慢拉动节流阀手柄,使节流阀逐渐关闭,溢流量逐渐减少,相应的工作机构供油逐渐增加而达到所须工作压力来完成升降动作。当需要停止升降动作时,**先松开节流阀手柄而溢流,停止油缸的工作用油及工作压力降低使指令的电源开关处于中位状态,而达到某个指令动作的停止。上车部分有转台操作如吊栏操作。转台操作时打开电源开关,电源指示灯亮,说明供电正常,再进行操作,拨动指令开关,在拨动无级节流阀操纵杆即可产生动作。
各升降臂及转台操作:
先拨动相应的电钮开关在缓缓拉动节流操作杆,升降臂及转台即可产生动作。
注意事项:上部工作时,先将小臂展开,再伸二臂和大臂,在起升和下降中各臂交替升或降,直到各升降臂进入行驶位置,下臂收回轻微调整旋转进度,使大臂正点进入支撑架中位。
工作人员进入工作斗后必须系好安全带,严禁超载。
五、工作条件及使用
1、环境温度:-20℃-40℃,风力不超过6级,工作场地不允许有暗沟,空洞,地面不坚实平整,工作车架必须处于水平状态。
2、取力装置位于发动机变速箱左侧,由离合操纵手柄、取力箱和油泵组成。用于将汽车发动机输出**液压系统油泵,通过扳动取力操作手柄使取力齿轮与汽车变速箱取力输出齿轮啮合或分离,从而使油泵工作或停止。
3、回转结构由液压马达,回转减速器及回转支承组成,它位于副大梁后部,由液压马达驱动回转减速器上的输出小齿轮旋转带动回转支
承,使转台回转。
4、**回转接头安装在转台回转**处,用以实现回转中油液及电能的传递。
5、高空作业车**作业半径即大臂升到**角度,二臂和小臂水平时工作斗到回转支承**的距离为L,如图10:

6、液压系统由一台液压泵供油,**工作压力16mpa,其系统工作压力由溢流阀调定。当取力齿轮与发动机输出齿轮啮合工作时,齿轮油泵即旋转供油,油箱的油通过泵输出,到达个液压元件,为机械动作提供动力。当下部工作时,扳动支腿操纵阀中相应操作杆,压力油经各管道和双向液压锁使相应的支腿动作。当上部起始工作时,**先拉紧节流阀手柄,使油路处于**小供油状态,按下所需电磁阀的按钮,然后缓慢松动节流阀手柄,使油量逐渐增加或减少来**提升臂的速度,先松弄电磁阀按钮,关闭电磁换向阀门,停止供油,此时油泵排出得工作油经溢流阀排回油箱。特别指出是上部各机构动作得平稳性是与操作中的方法有关的。节流阀拉紧供油量小,提升速度慢。缓缓松动油量逐渐增加,提升速度加快。上部动作时支腿必须伸直,垂直支腿必须正确着地支撑,使车架基本水平,四个支腿油缸、上臂、下臂油缸都装有双向液压锁,其作用使油缸到所需位置后,将油缸锁紧不动,以防造成事故。液压系统原理图:(以东风小霸王为例)



7、电气系统采用24V汽车电瓶供电,负极搭铁,按下驾驶室里的电源总开关,红色指示灯亮,此时24V电源已接通,在支腿撑出情况下,即可进行操作。
①电源指示灯亮,说明供电正常,再进行操作,先扳动无级节流阀操纵杆,再按转台旋转按钮,即可产生动作。
②二臂升降:先扳动调速操纵杆,再将转台标牌上的上臂按钮按下相应位置不放(升或降),上臂即可升或降。
③大臂升降:同上。
④转台及臂架回转:先扳动调速操纵杆,再将转台标牌板上的回转按钮按下相应位置不放(升或降),整个转台即可左或右旋转。
⑤小臂升降:同上。注意事项:上部工作时,先将小臂伸展开,再伸小臂使工作斗升起离开托架,再伸二臂少许,再旋转转台到工作底部(**不大于车身夹角30度为佳),起升和下降中要大、二臂交替地升或降,直到工作台面或回位,转台与工作斗上电器开关不得同时操作。在大臂、二臂全部伸展(不大于70 度)到位,转台**不要旋转过大,只能轻微调整。工作人员进入工作斗后必须系好安全带,严禁超载。
附:易损件明细表如下:

六、维护与保养
1、使用维护保养
⑴.在油缸工作300次以后,应更换全部工作油。拧开液压油箱放油螺塞,再从上部加油孔注入新机油,然后启动发动机,试运行各油缸动作两次,确认工作可靠即可。
⑵.高压油管每两年定期更换。在使用过程中发现有龟裂、损坏、肩部膨胀等现象时,应及时更换。
⑶.经常检查液压系统漏油情况,并及时维修和更换油封。
⑷.润滑采用汽车通用锂基润滑脂(GB5671-85),可用油**从油嘴中打入,直**间隙中挤出为止。
⑸.每天作业结束后清洗整车上装、工作臂和工作斗等表面。经常检查液压油存量,定期给各运动部位加注润滑油。
⑹.定期检查并调教齿轮油泵工作压力;检查滤油器滤芯,清除表面杂质或更换滤芯;定期更换液压油。
⑺.定期检查各机械联接部位的松紧情况,发现松脱及时拧紧或更换零件,若发现机械变形或故障及时与厂家联系。
2、润滑保养
⑴.上、下臂连接轴,以及小臂连轴、油缸轴1 个月油**注入锂基润滑脂ZL-2;
⑵.回转减速器6 个月换油L-CKE460;
⑶.回转支承3 个月锂基润滑脂ZL-2;
⑷.液压油箱6 个月换油L-CKE460 液压油(北方冬季用航空10#液压油)。
七、操作禁令
1、严禁违反本说明有关规定进行操作;
2、严禁垂直支腿不伸出的情况下进行登高作业,严禁车辆超重和带故障作业;
3、严禁工作斗超载和操作人员不系安全带作业;
4、严禁在取力齿轮未脱离的状态下行驶车辆;
5、严禁工作各臂、工作斗、支腿未收**行驶状态的情况下行驶车辆;
6、严禁车辆超载或抬举电线、建筑用梁柱等任何重物;
7、严禁上臂与水平夹角超过70 度情况下强行作业;
8、严禁在下臂未离开托架前操作转台回转;
9、严禁在回转台周围放置杂物,以防被夹入回转机构,造成车辆损坏;
10、严禁大风情况下操作。
八、故障检测
1. 液压油使用型号,夏季46#,冬季32#,北方地区气候特别冷的地方可使用低凝-30#;
2. 检查油箱油是否产生气泡和泡沫现象,处理产生气泡与进油管漏气有关,产生泡沫与液压油渗水有关;
3. 油泵产生异响,检查进油管堵塞,清洗过滤网保证进油畅通;
4. 检查油箱上部压力表调压是否失灵(即可调溢流阀不能正常**回油量的大小);
5. 如果是单臂出现故障,清洗双向液压锁及双向平衡阀,清理阀体内杂质结存,阀芯不能正常回位,而不能工作或者不能换向工作;
6. 油管及接头部分漏油(可更换O 型圈和组合垫密封);
7. 各升降臂出现速度减慢,或者不能升降,详见本说明书升降臂速度减慢的排除方法,进行保养及维修。
九、起重臂出现伸降速度下降及工作压力达不到的故障检测
1.每组多路阀都是由单组拼装而成,也称为组合阀多路阀2.每个组合多路阀都有安全溢流装置,装在每组的**左侧,其负担各组的进油和回油;3.在操作的过程中,油缸耗油量与油缸的伸缩是成正比例的,当油缸伸缩速度快慢的时候,油泵排出的油量是一定的,所以溢流阀就自动的将剩余油量(在一定的工作压力下)排回油箱中;
4.溢流阀中设置有溢流压力及溢流量调节丝即在溢流阀芯外端(有滚花的螺丝拆卸)内有平口起子调节,顺时针方向加大压力,反时针方向减少压力;
5.溢流阀内设置有压力自动溢流阀芯,即阀内前端内有一活塞体可在阀体内前后移动而**流量的大小,当活塞芯出现有杂质物的时候,会影响提升臂的升降速度和工作压力;
6.排出方法:拆下溢流阀芯**总成前端一抛光物外套(内有丝扣)装置有油针,及回位弹簧(注意部件的回位顺序)用柴油或者煤油清洗干净(不要用汽油洗)再组装还原;
7. 检查方法:用一个6mm 左右的干净硬物推动溢流阀芯总成前端下活塞,是否能够移动灵活(即弹簧是否能够弹回活塞芯回位)然后装配在溢流阀体上去;
8. 油厢上的调节手柄可调节工作压力(顺时针加大,逆时针减小),压力不得超过16Mpa,以防压力过高损坏其他部件。
十、售后服务
1、当您需要咨询或维修时,请与我厂售后服务部联系:13997877641,并将购车凭证妥善保管,以确认该车在保修期内。2、底盘车的售后服务工作由底盘车厂家负责;本厂仅对车辆的专用改装部分实行“三包”,在使用过程中,无论何时何地出现故障或问题,请来电、来函联系,我们将及时给予处理,在接到信息24 小时内给予明确答复。
3、新车应按规定进行走合保养,方可享受“三包”
(1)三包内容及期限:
a、车辆自购车之日起(以购车**为准)一年和行驶里程3000 公里以内(两个条件需同时具备)可享受“三包”;b、车辆自售出之日起十日内整车实行全包(以售后服务卡所填写的日期为准),即所有零部件因制造质量造成零部件损坏或不能满足整机使用性能要求的,我厂实行“三包”;c、三包”期内确因质量原因造成故障,我公司实行包修;d、“三包”期内总成件出现质量问题,经公司和配套单位及维修服务网点点连续两次以上修理(指同一故障)仍达不到技术性能而无法使用,该总成或部件予以更换。
(, 2)以下各项不属于“三包”范围:
a、不按本车规定,未进行强制性走合期保养的车辆;
b、非正常使用和自行改变车辆结构所造成故障的车辆;
c、**肇事车辆(含无证驾驶、违章肇事车辆);
d、未经公司同意,自行拆装或调整不当造成故障的车辆;
e、未经公司同意擅自将总成或部件拆卸成零件,且无法辩认产地和无法确认责任及原因分析的车辆;
f、未经公司同意或鉴定自行处理的事故车辆;g、因调整不当或未进行检查调整而使用造成故障的车辆;
h、低值易耗、易损件(如电器、玻璃、橡胶、塑料制品件等);各类标件、轴承。4、不属于“三包”范围的车辆,我公司本着对用户负责,提供方便给予维修服务,但应适当收取费用。
5、您对本厂该产品或其他产品的合理化建议,请向我售后服务部提 出,以便本厂及时采纳,本厂全体员工向您表示**诚挚的谢意!
购车质保1年
省内24小时、省外48小时之内
上门服务
全程监督售后人员的服务质量及态度,
确保客户满意。
专业的售后服务团队确保广大购车
客户无后顾之忧